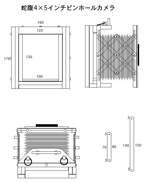
4×5ズームピンホールカメラ

設計図


カメラ本体



距離表示板



蛇腹型紙




ピンホールカメラフロントページへ